Описание
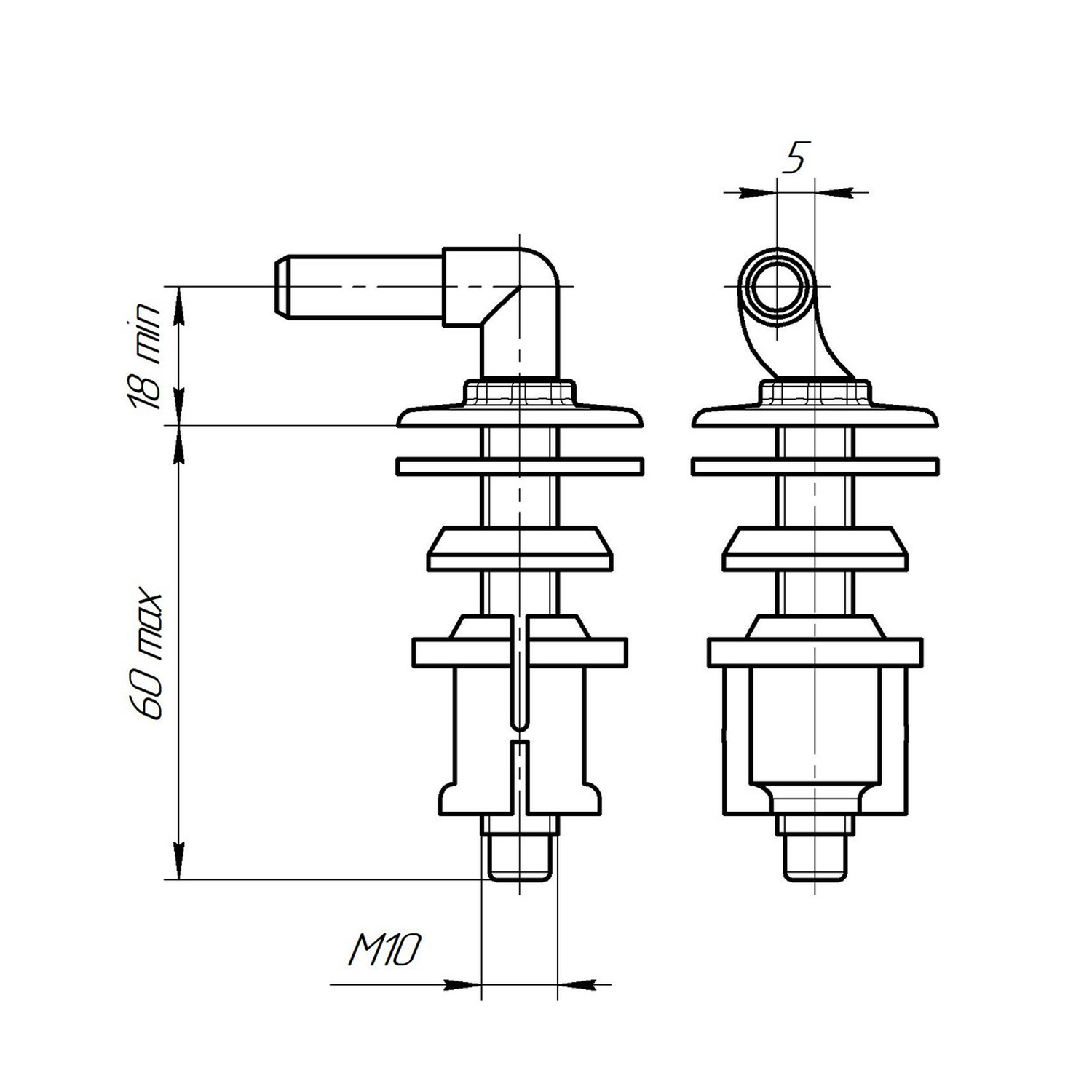
Компания «ИНКОЭР» производит крепежи различного назначения. Крепеж для сиденья предназначен для крепления сиденья к унитазу.Все крепежи изготавливаются в соответствии с требованиями из качественных, безопасных для здоровья полимерных материалов, с применением типовых металлических деталей.
Характеристики
Бренд
Инкоэр
Категория
Сиденья для унитаза
Подкатегория
20. СИДЕНЬЯ ДЛЯ УНИТАЗА,
Комплектующие для сидений
Комплектующие для сидений
Да
Тип товара Авито
Комплектующие
Отзывы
Отзывов еще никто не оставлял
Выбрать
